Tungsten Carbide Tips-Type M14

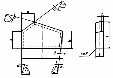
mm
| Type | Dimension | Note | |||||||||||
| L | t | S | a | t1 | t2 | α | α1 | α2 | β | b | e | ||
| M1425 | 25.0 | 15.0 | 3.0 | 12.5 | 10.0 | 10.0 | 15o | 15o | 15o | / | / | / | MP-9804 |
| M1427L | 27.5 | 22.0 | 4.5 | 12.0 | 11.0 | 15.0 | 10o | 5o | / | 2o | / | / | G84246 |
| M1428R | 28.0 | 18.0 | 8.0 | 19.0 | 14.0 | 16.0 | 14o | 14o | / | / | / | / | G88117 |
| M1443L | 43.0 | 21.0 | 18.0 | 12.0 | 10.0 | 8o | / | / | / | / | 1.0 | G83305 | |
| M14-77001 | 23.0 | 18.2 | 14.9 | 12o | 12o | / | / | / | / | G7264 | |||
| M1445L | 45.0 | 27.0 | 9.0 | 15.0 | 18.0 | 18.0 | 10o | 10o | / | / | / | 1.0 | X7402 |
| M1445LA | 22.5 | / | / | / | X7403 | ||||||||
| M1445R | 30.0 | / | / | / | X7401 | ||||||||




sales@chinatungsten.com