Tungsten Carbide Tips-Type M11

mm
| Type | Dimension | Note | |||
| t | H | h | S | ||
| M1113 | 13.4 | 26.0 | 23.8 | 3.0 | S226 |

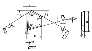
| Type | Dimension | Note | |||||||
| H | B | C | α | β | γ | δ | a | ||
| M11-94001 | 21.0 | 15.0 | 3.0 | 35o | 30o | 3o | 20o | 5.0 | G94752 |

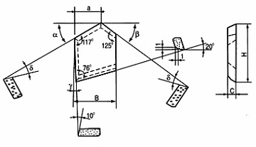
| Type | Dimension | Note | |||||||
| H | B | C | α | β | γ | δ | a | ||
| M11-94002 | 21.0 | 15.0 | 3.0 | 30o | 35o | 3o | 20o | 16.0 | G94753 |




sales@chinatungsten.com