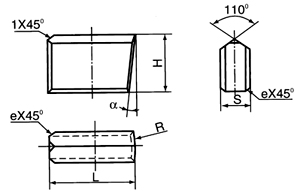
Broca Bits-Tipo K20


| Tipo |
Dimens?o |
Nota |
| L |
H |
S |
R |
α |
e |
| K20-91002 |
10.0 |
13.0 |
8.0 |
20.0 |
2o30' |
1.0 |
G91727 |
| K2012 |
12.0 |
12.0 |
16.0 |
3o |
/ |
| K2013 |
13.0 |
/ |
| K2014 |
14.0 |
17.0 |
/ |
| K2015 |
15.0 |
20.0 |
/ |
| K2016 |
16.0 |
14.0 |
G96090 |
| K20-96501 |
16.5 |
22.0 |
13.0 |
26.0 |
W96059 |
| K2017 |
17.0 |
14.0 |
8.0 |
20.0 |
/ |
| K2019 |
19.0 |
22.0 |
/ |
| K2020 |
20.0 |
16.0 |
10.0 |
23.0 |
1.5 |
/ |
| K2022 |
22.0 |
25.0 |
/ |
| K20-96502 |
23.0 |
23.0 |
13.0 |
32.5 |
1.0 |
W96060 |
| K2024 |
24.0 |
16.0 |
10.0 |
27.0 |
1.5 |
/ |
| K2026 |
26.0 |
29.0 |
/ |
| K2028 |
28.0 |
31.0 |
/ |
| K2030 |
30.0 |
12.0 |
35.0 |
/ |
| K2032B |
32.0 |
16.0 |
10.0 |
31.0 |
1.0 |
G90689 |
| K2032 |
18.0 |
12.0 |
38.0 |
2.0 |
/ |
| K2035 |
35.0 |
20.0 |
15.0 |
45.0 |
/ |
| K2041 |
41.0 |
22.0 |
17.0 |
51.0 |
/ |
| K2045 |
45.0 |
25.0 |
19.0 |
57.5 |
/ |
| K2053 |
53.0 |
20.0 |
59.0 |
/ |
同江市|
仙桃市|
彭阳县|
临桂县|
娱乐|
五常市|
民权县|
任丘市|
历史|
麟游县|
区。|
开化县|
平谷区|
顺平县|
抚远县|
阳谷县|
延长县|
丹东市|
全州县|
铜梁县|
福建省|
丰镇市|
东阳市|
常德市|
博客|
都江堰市|
东丽区|
沙河市|
光山县|
万盛区|
丽江市|
澎湖县|
嫩江县|
达拉特旗|
博客|
金阳县|
邢台市|
高邑县|
玛曲县|
桦川县|
石嘴山市|