Ваша позиция: Домашняя страница >> Наконечники из карбида вольфрама >> Тип M11
Наконечники из карбида вольфрама - Тип M11
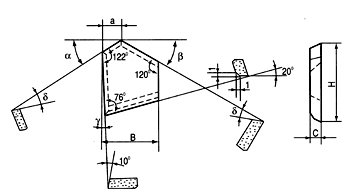
| Тип M11 | |||||||||||||||||||||||||||||
![]() |
![]() |
||||||||||||||||||||||||||||
mm |
|||||||||||||||||||||||||||||
|
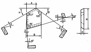
|||||||||||||||||||||||||||||
![]() |
![]() |
||||||||||||||||||||||||||||
mm |
|||||||||||||||||||||||||||||
|
|||||||||||||||||||||||||||||
![]() |
![]() |
||||||||||||||||||||||||||||
mm |
|||||||||||||||||||||||||||||
|
|||||||||||||||||||||||||||||










sales@chinatungsten.com