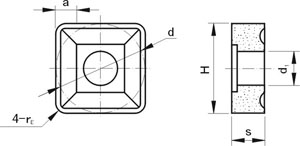
機械的に挿入にクランプ-タイプ 4V
![]() |
![]() |
?
タイプ |
ディメンション(mm) |
約の単位體積重量(g) |
||||||||
d |
s |
r |
a≈ |
d1 |
H |
YG6 |
YG8 |
YT5 |
YT14 |
|
41005V |
10.0 |
3.5 |
0.5 |
24. |
4.2 |
10.0 |
4.4 |
4.3 |
3.6 |
3.2 |
41310V |
13.0 |
4.5 |
1.0 |
3.4 |
5.2 |
13.0 |
9.3 |
9.1 |
7.8 |
6.9 |
41610V |
16.0 |
5.5 |
1.0 |
4.4 |
6.2 |
16.0 |
17.3 |
17.0 |
15.1 |
13.4 |
41620V |
16.0 |
5.5 |
2.0 |
4.4 |
6.2 |
16.0 |
16.9 |
16.6 |
14.5 |
12.9 |
41910V |
19.0 |
7.0 |
1.0 |
5.4 |
7.2 |
19.0 |
31.0 |
30.5 |
26.9 |
23.9 |
41920V |
19.0 |
7.0 |
2.0 |
5.4 |
7.2 |
19.0 |
30.5 |
30.1 |
26.7 |
23.9 |






sales@chinatungsten.com