Votre Position: Page d'accueil >> Carbure de Tungstène >> Conseils en Carbure de Tungstène >> Type M11
Conseils en carbure de tungstène-Type M11
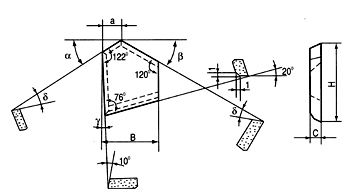
| Type M11 | |||||||||||||||||||||||||||||
![]() |
![]() |
||||||||||||||||||||||||||||
mm |
|||||||||||||||||||||||||||||
|
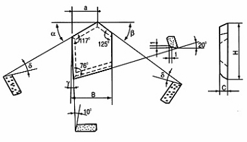
|||||||||||||||||||||||||||||
![]() |
![]() |
||||||||||||||||||||||||||||
mm |
|||||||||||||||||||||||||||||
|
|||||||||||||||||||||||||||||
![]() |
![]() |
||||||||||||||||||||||||||||
mm |
|||||||||||||||||||||||||||||
|
|||||||||||||||||||||||||||||










sales@chinatungsten.com