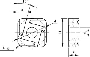
Mecánicamente Sujetos al Suelo Inserta-Tipo 4Y
![]() |
![]() |
?
Tipo |
Dimensión(mm) |
Aprox Unidad de Peso(g) |
||||||||
d |
H |
s |
r |
a≈ |
d1 |
YG6 |
YG8 |
YT5 |
YT14 |
|
41620Y |
16.0 |
16.0 |
5.5 |
2.0 |
5.0 |
6.2 |
17.6 |
17.3 |
15.2 |
13.5 |
41620YL |
||||||||||
41930Y |
19.0 |
19.0 |
7.0 |
3.0 |
6.0 |
7.2 |
30.9 |
30.4 |
27.1 |
24.1 |
41930YL |
||||||||||






sales@chinatungsten.com